德国标准设计制造并升级,已超越德国同类产品。
减速电机为SEW,可根据客户要求选择。
设计特点
·旋转物料喂料机,分格轮主轴上的速度检测器控制精准 · 高温空气锁风
·焊接外壳,更耐用,更可靠
·外壳和分格轮使用日本进口合金钢EN10028.2 标准16Mo3, 抗高温蠕变性好,最大工作温度600℃,耐磨强度大 · 瑞 典SKF FC-UC216轴 承 ,QT-400 轴座
· 齿轮电机:德国SEW · 主轴密封:石墨盘根 · 服务寿命长
· 易安装,维修成本低 · 噪音低,振动小
· 终端连接:法兰
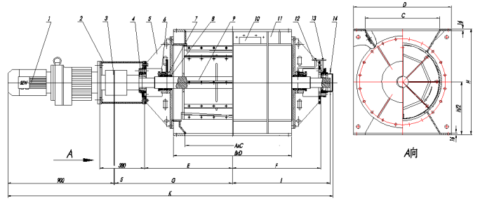
尺寸图:

规格(单位:mm)
规格 型号 | 转子直径 | 料口 | 最大流量(T/H) | 功率(KW) | 长度 | 宽×高 |
Lv500×700 | φ500 | 500x700 | 150 | 4 | 2075 | 620×50 |
LV630×800 | ①630 | 630x800 | 300 | 5.5 | 2754 | 830×900 |
LV800×1000 | φ800 | 800x1000 | 400 | 7.5 | 2950 | 1050×1100 |
LV1000×1200 | Φ1000 | 1000×1200 | 500 | 9.2 | 3154 | 1200×1300 |
规 格 | 最大流量t/h | A×C | B×D | E | F | G | H | I | K | 重量(Kg) |
500×700 | 150 | 500×700 | 620×820 | 604 | 603 | 784 | 750 | 687 | 2383 | 1058 |
630×800 | 300 | 630×800 | 1000×830 | 744 | 748 | 999 | 900 | 830 | 2754 | 1600 |
800×1000 | 400 | 800×1000 | 1000×1200 | 844 | 848 | 1099 | 1070 | 930 | 1954 | 1998 |
1000×1200 | 500 | 1000×1200 | 1000×1200 | 944 | 948 | 1324 | 1300 | 1050 | 3154 | 2600 |
特殊规格可定制


